医疗器械法规、注册、临床、体系认证、信息系统一站式服务
24×7服务热线:0571-86198618 简体中文 ENGLISH
当前位置:网站首页>新闻动态>医疗器械经营许可
  • 销售无菌棉签是否需要办理第二类医疗器械经营备案凭证? 销售二类无菌医用棉签(不含消毒剂)是否需要办理第二类医疗器械经营备案凭证?无菌医用棉签(不含消毒剂)是否属于无菌医用脱脂棉类,按现有法规是否属于免备案经营的二类医疗器械?如果属于的话,只要经营范围里面包含“第二类医疗器械销售”就可以正常销售? 时间:2026-5-25 0:00:00 浏览量:101
  • 销售血糖尿酸血压测试仪需要办理医疗器械经营许可证吗? 血糖尿酸血压是困扰众多人的话题,做好血糖尿酸血压的例行监测、关注血糖尿酸血压的异常与变化趋势非常重要。在五一劳动节这个假期,接到电话问我血糖尿酸血压测试仪的经营企业是否需要办理医疗器械经营许可证,考虑到血糖尿酸血压测试仪是家庭常用医疗器械注册产品之一,因此,写个文章说说这个事儿。 时间:2026-5-5 0:00:00 浏览量:207
  • 销售矫形鞋垫(足部矫形器)需要办理第二类医疗器械经营备案凭证吗? 矫形鞋垫又称为足部矫形器、足矫形器,产品在欧美已经应用多年,并且逐渐在国内应用开来,考虑到矫形鞋垫的归属取决于预期用途的宣称,并且容易违规、犯错,因此,写个文章跟大家说说销售矫形鞋垫(足部矫形器)是否需要办理第二类医疗器械经营备案凭证,一起看正文。 时间:2026-4-25 0:00:00 浏览量:270
  • 销售一次性使用骨穿刺活检针套件是否需要办理医疗器械经营许可证? 外科手术器械很多产品是以套件的形式注册申报,相比常规医疗器械注册产品,套件的结构组成和型号规格相对更加复杂、多样。今天有客户朋友打电话给我,问到销售一次性使用骨穿刺活检针套件是否需要办理医疗器械经营许可证?写个文章说说这个事儿。 时间:2026-4-17 0:00:00 浏览量:267
  • 温州市局推动医疗器械经营企业年度自查工作提质增效 来自浙江省药品监督管理局2026年4月7日消息,为进一步推进医疗器械经营企业质量体系年度自查报告工作,切实提升报告效率和质量,温州市局落实主体责任,上下协同发力,力促医疗器械经营企业年度自查报告从“形式合规”向“质效双优”转变。全市6036家医疗器械经营企业已全部提交自查报告,提交率达100%,在法定截止日期(3月31日)前圆满完成此项工作。 时间:2026-4-11 0:00:00 浏览量:245
  • 销售一次性使用全麻气管插管包需要办理医疗器械经营许可证吗? 许多包类医疗器械注册产品因其对于临床应用的方便性在临床上广泛应用,以及在市面上有很大的流通量,比如一次性使用全麻气管插管包,今天写个文章跟大家说说销售一次性使用全麻气管插管包是否需要办理医疗器械经营许可证,一起看正文。 时间:2026-3-21 0:00:00 浏览量:310
  • 销售高岭土止血纱布需要办理医疗器械经营许可证吗? 有一部分医疗器械产品的名称极具特色,比如今天要说到的高岭土止血纱布,广为人知的是,高岭土是产自江西省景德镇市的一种烧制瓷器的优质原料,高岭土止血纱布这个产品,销售企业需要办理医疗器械经营许可证吗?写个文章说说这个极易犯错的事。 时间:2026-3-11 0:00:00 浏览量:333
  • 销售抗HPV贻贝粘蛋白凝胶需要办理医疗器械经营许可证吗? 抗HPV妇科凝胶敷料是热门医疗器械注册产品之一,临床上多用于降低局部的HPV载量。尽管今天是2026年工作周的第一个周末,仍然接到客户朋友打电话给我,问到销售抗HPV贻贝粘蛋白凝胶是否需要办理医疗器械经营许可证,考虑到医疗器械经营事项是违规高发区域,因此,写个文章说说这个事儿。 时间:2026-3-1 0:00:00 浏览量:420
  • 销售口腔溃疡含漱液需要办理医疗器械经营许可证吗? 口腔溃疡是多数成年人都有过的经历,熬夜、加班、免疫力降低都容易引发口腔溃疡,我个人也是经常被口腔溃疡折磨。口腔溃疡含漱液用于缓解因口腔溃疡、口腔炎症、义齿或手术造成的创面所带来的疼痛。今天有客户打电话问到我,销售口腔溃疡含漱液是否需要办理医疗器械经营许可证,考虑到产品的广泛流通,写个文章说说这个事儿。 时间:2026-1-3 0:00:00 浏览量:601
  • 销售正压呼吸机需要办理医疗器械经营许可证吗? 正压呼吸机适用于提供连续性呼吸道呼吸正压,用于治疗成人(体重大于30 kg)鼾症、睡眠呼吸暂停低通气综合征。预期在家庭护理和专业医疗环境中使用,不用于生命支持。正压呼吸机在家庭和医疗机构中广泛使用,正好今天有客户问到销售正压呼吸机是否需要办理医疗器械经营许可证,因此,写个文章说说这个事儿。 时间:2025-11-30 0:00:00 浏览量:759
  • 攀枝花市某经营部在饿了么平台销售医疗器械,未按照规定告知监管部门被罚 网络销售越来越成为常见医疗器械流通渠道,同时也是医疗器械经营违规案件频发领域,近日,国家药监局公布典型的医疗器械网络销售违规案例,其中攀枝花市东区一心阁商贸经营部在饿了么平台销售医疗器械,未按照规定告知负责药品监督管理的部门被罚,一起来看具体内容。 时间:2025-11-23 0:00:00 浏览量:632
  • 销售定制式正畸保持器是否需要办理医疗器械经营许可证? 定制式正畸保持器是最热门的口腔科医疗器械注册产品之一,用于巩固牙颌畸形矫治完成后的疗效,在临床上广泛使用。对于定制式正畸保持器的经营企业来说,是否需要办理医疗器械经营许可证呢?写个文章说说这个事儿。 时间:2025-11-9 0:00:00 浏览量:706
  • 销售助听器是否需要办理医疗器械经营许可证? 助听器是最常见的医疗器械注册产品之一,供听力损失患者补偿听力用。常见的助听器有耳内式助听器、耳背式助听器、骨传导助听器、盒式助听器、蓝牙智能耳内式助听器等多种具体产品。对于医疗器械经营企业来说,销售助听器是否需要办理医疗器械经营许可证,写个文章说说这个事儿。 时间:2025-11-2 0:00:00 浏览量:1227
  • 销售中医经络检测仪需要办理医疗器械经营许可证吗? 一是由于中医悠久的应用历史,早在我国出台医疗器械监管法规之前就已经在疾病诊疗中广泛应用;二是在很长历史周期,中医都是师徒传承,或是经验传承;三是许多中医器具取材便捷,很多亦是中医师自制而成,因此,中医的监管一直是个难且复杂的课题。本文为大家说说销售中医经络检测仪需要办理医疗器械经营许可证,一起看正文。 时间:2025-10-21 0:00:00 浏览量:921
  • 销售康复踏车需要办理医疗器械经营许可证吗? 越来越多、越来越好的康复产品出现在医疗机构、家庭,在健康康复过程中发挥了巨大作用,但因为康复产品有久远的应用历史,其应用远远早于医疗器械监管法规的出台,因此,康复产品的经营一直是违规风险高发。今天正好有客户打电话给我,问到销售康复踏车是否需要办理医疗器械经营许可证,因此,写个文章,说说这个事儿。 时间:2025-10-12 0:00:00 浏览量:794
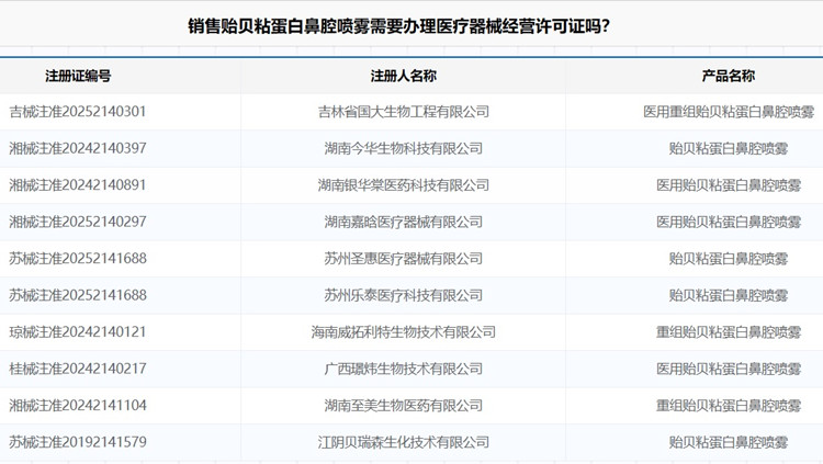
  • 销售贻贝粘蛋白鼻腔喷雾需要办理医疗器械经营许可证吗? 贻贝粘蛋白鼻腔喷雾是医疗器械及家庭常用医疗器械注册产品之一,尽管今天是国庆假期,仍然接到客户电话问到贻贝粘蛋白鼻腔喷雾这个产品销售合规问题,问到销售贻贝粘蛋白鼻腔喷雾是否需要办理医疗器械经营许可证,考虑到问题的典型性,写个文章说说这个事儿。 时间:2025-10-2 0:00:00 浏览量:950
  • 销售中医封包综合治疗仪需要办理医疗器械经营许可证吗? 对于医疗器械销售来说,我们国家出台了医疗器械经营法规来管理,任何个人和企业销售医疗器械都需要合规、谨慎。当然,医疗器械经营我国是依据风险实行分类管理制度,今天来跟大家说说销售中医封包综合治疗仪是否需要办理医疗器械经营许可证,一起看正文。 时间:2025-9-19 0:00:00 浏览量:852
  • 销售有源器械办理医疗器械经营许可证有什么特殊要求吗? 之前写眼科器械、体外诊断试剂、骨科植入类医疗器械经营许可相关事项较多,今天有客户问到我,销售有源器械办理医疗器械经营许可证是否有特殊要求,写个文章,说说这个事。 时间:2025-9-9 0:00:00 浏览量:843
  • 销售家用制氧机需要办理第二类医疗器械经营备案凭证吗? 对于家用制氧机是否需要办理第二类医疗器械经营备案凭证?这是个问题,直接回答是否者不是都是个问题,需要具体情况具体分析,经营家用制氧机的企业务必要留意。 时间:2025-7-27 19:58:21 浏览量:1075
  • 湖州某公司擅自变更经营场所在天猫平台销售第三类医疗器械被罚 电商在我国已经成为医疗器械主要销售渠道之一,特别是家用医疗器械销售,然而,各种各样的因素,电商平台销售医疗器械违规案时有发生,近日,国家药监局公开通过湖州京视科技有限公司擅自变更经营场所在天猫平台销售第三类医疗器械被罚,一起来看具体内容。 时间:2025-7-18 20:39:16 浏览量:976

Copyright © 2018 医疗器械注册技术咨询 浙ICP备18025678号 技术支持:熙和网络