贻贝粘蛋白鼻腔喷雾是医疗器械及家庭常用医疗器械注册产品之一,尽管今天是国庆假期,仍然接到客户电话问到贻贝粘蛋白鼻腔喷雾这个产品销售合规问题,问到销售贻贝粘蛋白鼻腔喷雾是否需要办理医疗器械经营许可证,考虑到问题的典型性,写个文章说说这个事儿。
贻贝粘蛋白鼻腔喷雾是医疗器械及家庭常用医疗器械注册产品之一,尽管今天是国庆假期,仍然接到客户电话问到贻贝粘蛋白鼻腔喷雾这个产品销售合规问题,问到销售贻贝粘蛋白鼻腔喷雾是否需要办理医疗器械经营许可证,考虑到问题的典型性,写个文章说说这个事儿。

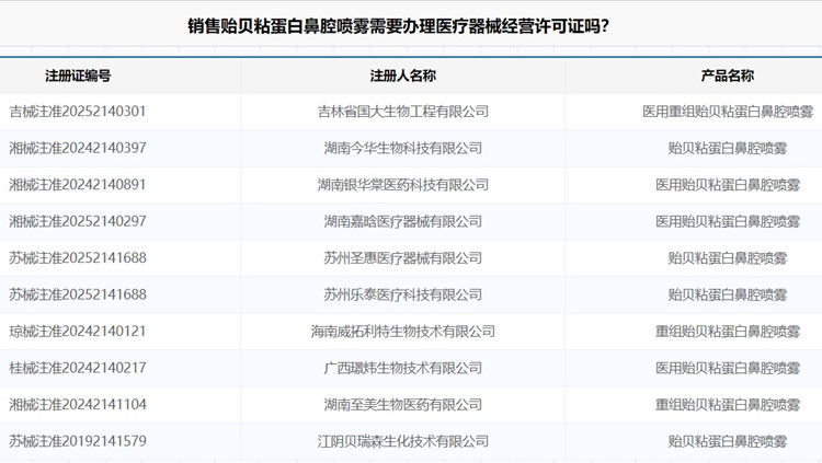
销售贻贝粘蛋白鼻腔喷雾需要办理医疗器械经营许可证吗?
我国对医疗器械事项分类管理制度,销售第三类医疗器械需要办理医疗器械经营许可证;销售第二类医疗器械需要办理第二类医疗器械经营备案凭证;销售第一类医疗器械,企业需要有对应的营业范围;在网络平台销售医疗器械,则需要办理医疗器械网络销售备案。
贻贝粘蛋白鼻腔喷雾产品在我国属于第二类医疗器械注册产品,因此,在我国销售贻贝粘蛋白鼻腔喷雾需要办理第二类医疗器械经营备案凭证,而无需办理医疗器械经营许可证。
如有办理第二类医疗器械经营备案凭证、办理医疗器械经营许可证需求,欢迎您随时方便与杭州证标客医药技术咨询有限公司联络,联系人:吕工,电话:18058734169,微信同。