《医疗器械生产监督管理办法》的规定,开办第二类、第三类医疗器械生产企业的,应当向所在地省、自治区、直辖市药品监督管理部门申请生产许可,第一类医疗器械生产企业办理备案。在此为大家讲解三类医疗器械注册流程和要求。
引言:《医疗器械生产监督管理办法》的规定,开办第二类、第三类医疗器械生产企业的,应当向所在地省、自治区、直辖市药品监督管理部门申请生产许可,第一类医疗器械生产企业办理备案。在此为大家讲解三类医疗器械注册流程和要求。
一、三类医疗器械注册向哪里申报:
国家规定,三类医疗器械注册由国家局受理和审批;二类医疗器械有各省药监局受理并审批。PS:从各种渠道已有消息透出,二类医疗器械的注册未来可能由国家局受理、审批,但暂未看到明文的政策发布。
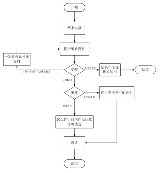
二、三类医疗器械注册一般流程:
三类医疗器械注册流程如下:

三、三类医疗器械注册申报资料:
(一)《医疗器械生产企业开办申请表》(原件)(包含委托书及被委托人身份证复印件, 以及申请材料真实性的保证声明)。
(二)营业执照复印件。
(三)申请企业持有的所生产医疗器械注册证及产品技术要求复印件。
(四)法定代表人、企业负责人身份证明复印件;企业负责人任命文件的复印件;生产管理、质量检验岗位从业人员学历、职称一览表。
(五)生产、质量和技术部门负责人的身份、学历、职称证明和工作简历(复印件)。
(六)拟生产产品范围、品种和相关产品简介(产品简介至少包括对产品的结构组成、原理、预期用途的说明及产品标准)。
(七)生产场地的证明文件,有特殊生产环境要求的还应当提交设施、环境的证明文件复印件;一般包含房屋产权证明或租赁协议及出租方房产证明复印件、厂区总平面图、主要生产车间平面图。
(八)主要生产设备和检验仪器清单(原件)。
(九)质量手册和程序文件(原件)。
(十)工艺流程图(原件)。
(十一)生产企业自查表(原件)。
(十二)其他证明资料。
注:其他依据各地药监局的具体规定准备。
四、医疗器械生产许可证图示:

杭州证标客医药技术咨询有限公司位于中国杭州,是医疗器械专业服务第三方。为广大客户提供医疗器械法律法规、经营开办、医疗器械生产质量管理体系、医疗器械注册、临床、CRC、CE、FDA、医疗信息系统定制开发一站式服务,是江浙沪地区极少数有医疗器械全流程服务能力的机构之一。任何有关医疗器械注册、医疗器械经营许可/备案、医疗器械临床试验、CRC服务事宜,随时方便联系叶工(MP:18058734169,微信同)。