二、三类医疗器械注册工作流程
发布日期:2019-06-06 00:00浏览次数:3230次
第二类医疗器械是指:对其安全性、有效性应当加以控制的医疗器械。X 线拍片机、B 超、显微镜、生化仪属于Ⅱ类;第三类医疗器械是指:国家对于医疗器械有着严格的分类,而三类医疗器械是最高级别的医疗器械,也是必须严格控制的医疗器械,是指植入人体,用于支持、维持生命,对人体具有潜在危险,对其安全性、有效性必须严格控制的医疗器械。
第二类医疗器械是指:对其安全性、有效性应当加以控制的医疗器械。X 线拍片机、B 超、显微镜、生化仪属于Ⅱ类;
第三类医疗器械是指:国家对于医疗器械有着严格的分类,而三类医疗器械是最高级别的医疗器械,也是必须严格控制的医疗器械,是指植入人体,用于支持、维持生命,对人体具有潜在危险,对其安全性、有效性必须严格控制的医疗器械。
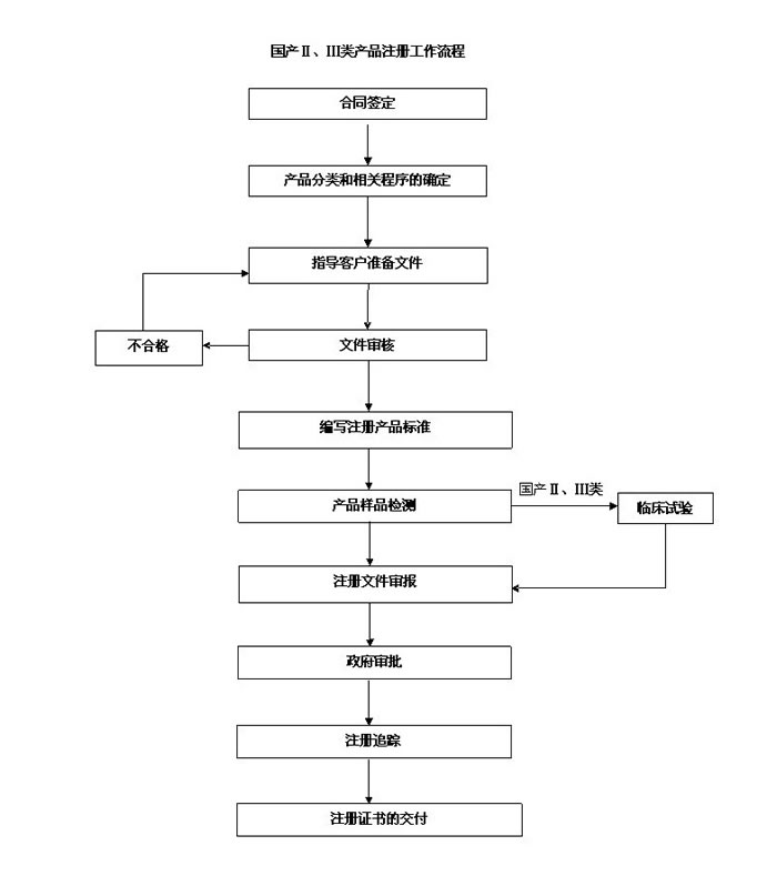
这两类医疗器械注册工作可分为境内医疗器械注册工作流程和境外医疗器械注册工作流程。

境内二、三类医疗器械注册工作流程:

境外二、三类医疗器械注册工作流程:
